ECOAIR MLC Ecowatt IPX4 small centrifugal fanMalé radiální ventilátory
Catalog sheet | ![]() | Service instructions | ![]() | 2D/3D CAD | 232 EUR |
Technical parameters
| průtok [m3/h] | výkon [W] | napětí [V] | SFP [W/m3/s] | akust. tlak* [dB(A)] | hmotnost [kg] |
|---|---|---|---|---|---|
| 15/60 | 0,8/5,6 | 230 | 192/336 | <20/32 | 0,57 |
údaje platí pro minimální / maximální nastavené otáčky ventilátoru; * akustický tlak ve vzdálenosti 3 m
![]() | Skříň Skříň je z ABS, barva bílá. Výtlak je směrem dozadu, průměr výtlačného hrdla je 99 mm. Montáž je na stěnu nebo do podhledu. Ventilátory obsahují v balení zpětnou klapku, kterou je možné použít, pokud je ventilátor v přerušovaném chodu. | |
![]() | Oběžné kolo Oběžné kolo je radiální s dopředu zahnutými lopatkami, nalisované na ose EC motoru. | |
![]() | Motor Motor je EC s vysokou účinností a nízkou spotřebou. Je vybaven termopojistkou proti přetížení, max. teplota okolí je 40 ˚C. Krytí IPX4. | |
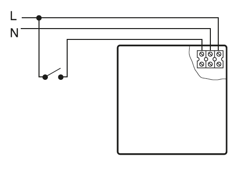
![]() | Svorkovnice Svorkovnice je přístupná po demontáži čelní mřížky. | |
![]() | Regulace Regulace průtoku se provádí ve dvou režimech. Trvalý chod s nárazovým větráním po sepnutí externího spínače, hygrostatu nebo infračerveného čidla. Přerušovaný chod dle nastavených otáček ventilátoru po sepnutí externího spínače nebo dle podmínek hygrostatu, infračerveného čidla a doběhu. Minimální a maximální otáčky se nastavují pomocí potenciometrů na řídící elektronice ventilátoru po sejmutí čelní mřížky. | |
![]() | Varianty • S - trvalý chod s nízkým průtokem, zvýšení (boost) se provádí externím spínačem. Přerušovaný chod zajišťuje spuštění ventilátoru až po sepnutí spínače. • T - trvalý chod s nízkým průtokem, zvýšení (boost) se provádí externím spínačem, nastavitelný doběh 1–30 min. Přerušovaný chod zajišťuje spuštění ventilátoru až po sepnutí spínače a po vypnutí spínače ventilátor běží po dobu nastaveného doběhu. • H - trvalý chod s nízkým průtokem, zvýšení (boost) interním čidlem vlhkosti, nastavitelný doběh 1–30 min. Přerušovaný chod zajišťuje automatické spuštění ventilátoru až po zaznamenání zvýšené vlhkosti dle nastavení čidla a doby doběhu. • M - stejné funkce jako H, navíc obsahuje tahový spínač přímo na skříni ventilátoru. • D - trvalý chod s nízkým průtokem, zvýšení (boost) se provádí interním infračerveným čidlem pohybu, nastavitelný doběh 1–30 min. Přerušovaný chod zajišťuje automatické spuštění ventilátoru až po zaznamenání pohybu. | |
![]() | Montáž Montáž ventilátoru se provádí na stěnu nebo do podhledu, v horizontální i vertikální poloze. | |
![]() | Pokyny Ventilátory jsou vhodné pro velmi náročné interiéry a architektonická řešení. | |
Additional pictures















