EnglishSlovenskyČesky

VKS 250 outlet pipe

  Catalog sheet  Service instructions2D/3D CAD17.70 EUR
Pieces  
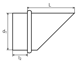
Look and dimensions:
  
d1Ll2
25035060
Technical parameters
Hmotnost
[kg]
1,6
 Informace
• výfukový kus s ochrannou síťkou

 

Content © ELEKTRODESIGN ventilátory spol. s r.o. and providers of a content (Soler & Palau, VIM, Wernig, Eberle, Belimo CZ, UNIVENT CZ and others)